
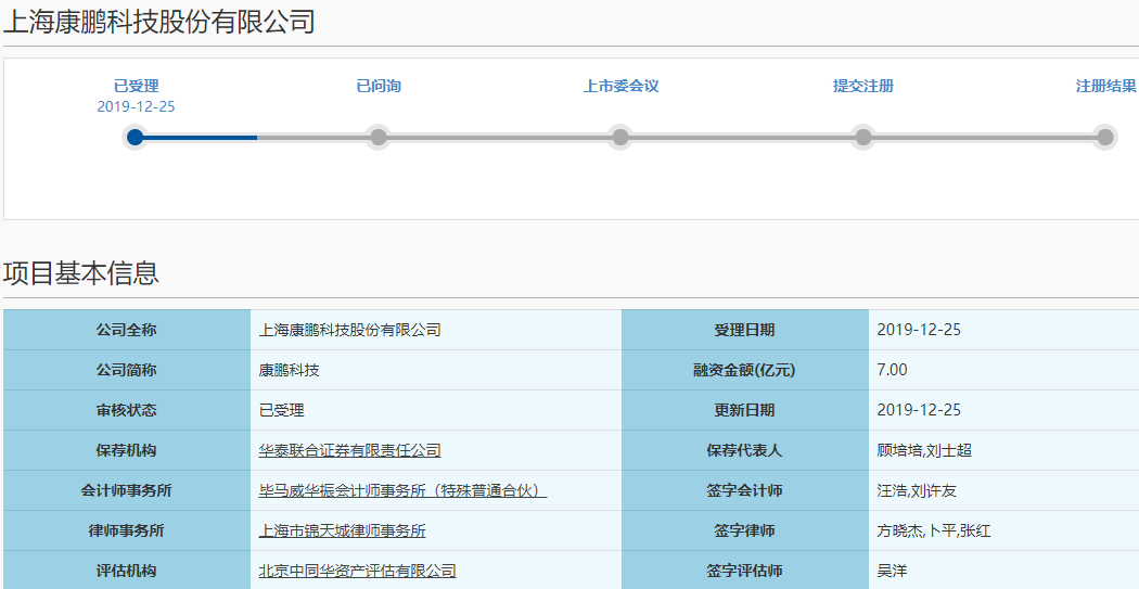
科創板鋰電大軍由添一員大將!12月25日,上海康鵬科技股份有限公司(下文簡稱“康鵬科技”)的科創板IPO申請已獲上交所受理。
截止發稿,算上康鵬科技,在鋰電領域,沖刺科創板的企業已達11家,其他10家分別是容百科技(已上市)、瀚川智能(已上市)、嘉元科技(已上市)、杭可科技(已上市)、天奈科技(已上市)、孚能科技(已問詢)、聯贏激光(已問詢)、奧特維(已問詢)、博眾精工(提交注冊)、科隆新能源(中止)。此外,專注于氫燃料電池發動機系統研發及產業化的億華通(中止)也在沖刺科創板。
招股說明書顯示,康鵬科技是一家領先的含氟精細化學品制造商,主要從事顯示材料、新能源電池材料及電子化學品、功能性材料及其他特殊化學品的研發、生產和銷售。2016年至2018年及今年上半年,康鵬科技分別實現營收5.99億元、6.37億元、7.04億元和3.35億元,凈利潤分別為1.27億元、1.42億元、3.29億元和0.93億元。
值得注意的是,康鵬科技前身曾于2009年登陸紐交所,后于2011年私有化退市。而在上市輔導的過程中,綜合考慮自身經營情況、技術特點和發展戰略的康鵬科技,決定由主板轉道至科創板。
科創板IPO擬募資7億元
康鵬科技本次科創板IPO擬募資7億元,投入“含氟新材料生產基地建設項目”、“新型液晶顯示材料生產項目”、“新建農藥原藥及醫藥中間體項目”、“年產250噸動力電池材料硫酸二醇酯系列產品項目”及補充流動資金。

募集資金運用(單位:萬元)
其中,年產250噸動力電池材料硫酸二醇酯系列產品項目為康鵬科技針對新能源電池材料的產品線擴充項目,根據康鵬科技發展戰略需要,公司將新建3,240平米的廠房,購置并安裝生產線用于硫酸二醇酯的生產。公司將采用先進的集散控制系統(DCS)實現工藝參數的顯示和控制,引入中央控制室,購置夾套熱水、蒸氣、冷凍鹽水等溫度控制系統,溶劑供給系統等一系列自動化裝置,新增反應釜、后處理、烘干、包裝等裝置設備。
雖然鋰離子電池具有非常多的優點,但是其高溫熱穩定性差,低溫容量衰減快,循環次數有限,將硫酸二醇酯用作鋰離子電池電解液的添加劑,可以有效抑制電池初始容量的下降,增大初始放電容量,減少高溫放置后的電池膨脹,提高電池的充放電性能及循環次數。
具體來看,近年來隨著動力電池在電動汽車領域的廣泛應用,動力電池的溫度適應性越來越受到關注。在我國大部分地區,夏季氣溫可達38℃左右,而到了冬季則低至-10℃左右,這對電池的高低溫性能提出了嚴峻的考驗。硫酸酯類化合物有廣泛的用途,尤其是環狀硫酸酯類化合物越來越多的被用作鋰電池固體電解質相界面膜及鋰電子電解液的新型添加劑,以改善電池高低溫性能。研究表明環狀硫酸酯在電解液中可還原產生亞硫酸鹽類化合物,而這一類化合物具有良好的熱穩定性,因此能夠改善鋰電池SEI膜的高溫穩定性,進而提高電池的高溫循環性能和高溫儲存性能;同時可以優化SEI膜的成分,降低電池的阻抗,有利于改善電池的低溫放電性能。
目前公司的新能源電池材料生產以LiFSI為主,公司希望發展新的業務增長點,引入具有技術突破性、市場前景廣闊的新產品,以此來支持公司相關業務的快速發展。
LiFSI產品已供應國內外知名電解液企業
電池網注意到,康鵬科技在新能源電池材料方面,公司是全球自主研發并較早實現量產新能源電池新型電解質“雙氟磺酰亞胺鋰鹽(LiFSI)”的企業之一,客戶主要為日本宇部、國泰華榮等國內外知名新能源電池電解液生產廠商。
LiFSI(雙三氟甲基磺酰亞胺鋰)是三元動力電池中關鍵的添加劑之一,但長期以來,LiFSI技術壁壘高、生產成本高,一直依靠進口。目前約占電解液成本50%的六氟磷酸鋰已完成國產化替代,進入價格競爭階段。而LiFSI也已經開啟國產化進程,新宙邦、天賜材料、永太科技等企業等國內主流電解液及添加劑廠家正積極建設LiFSI產線,一旦成本降下來,電解液企業或將其作為新的主材來使用。
康鵬科技的新能源電池材料產能位居行業前列。截至2018年底,全球范圍內僅有康鵬科技、日本觸媒和韓國天寶具有新能源電池材料LiFSI工業化量產能力。
康鵬科技在新能源電池材料領域具有豐富的技術儲備。截至2019年11月30日,康鵬科技擁有14項新能源電池材料相關發明專利,康鵬科技的硫酸二醇酯等新能源電池材料產品已完成中試,2018年,康鵬科技的發明專利“一種雙氟磺酰亞胺鋰鹽的制備方法”獲得國家知識產權局頒發的“中國專利優秀獎”,LiFSI合成工藝研發項目獲得2019年上海市重點產品質量攻關成果一等獎。2017年5月,康鵬科技的“雙氟磺酰亞胺鋰鹽”項目經中國石油和化學工業聯合會鑒定達到國際先進水平。此外,康鵬科技還作為牽頭單位制定了雙氟磺酰亞胺鋰鹽的行業標準。
2016年至2018年及今年上半年,康鵬科技LiFSI銷售量分別為62.30噸、167.11噸、269.26噸和154.82噸,居于行業領先地位,并在全球范圍內占據重要的市場份額。截至其招股書簽署日,衢州康鵬年產1500噸LiFSI產線項目、250噸新能源電池材料硫酸二醇酯系列產品項目正在建設過程中,建成后將進一步提升康鵬科技在新能源電池材料行業的競爭力。

電池網微信












