
企查查顯示,哪吒汽車關聯公司合眾新能源汽車股份有限公司(簡稱:合眾新能源)被申請破產一案更新,6月19日新增破產案件,管理人機構為浙江子城律師事務所,經辦法院為浙江省嘉興市中級人民法院。此前,申請人上海禹形廣告有限公司已對該公司提出過破產審查。

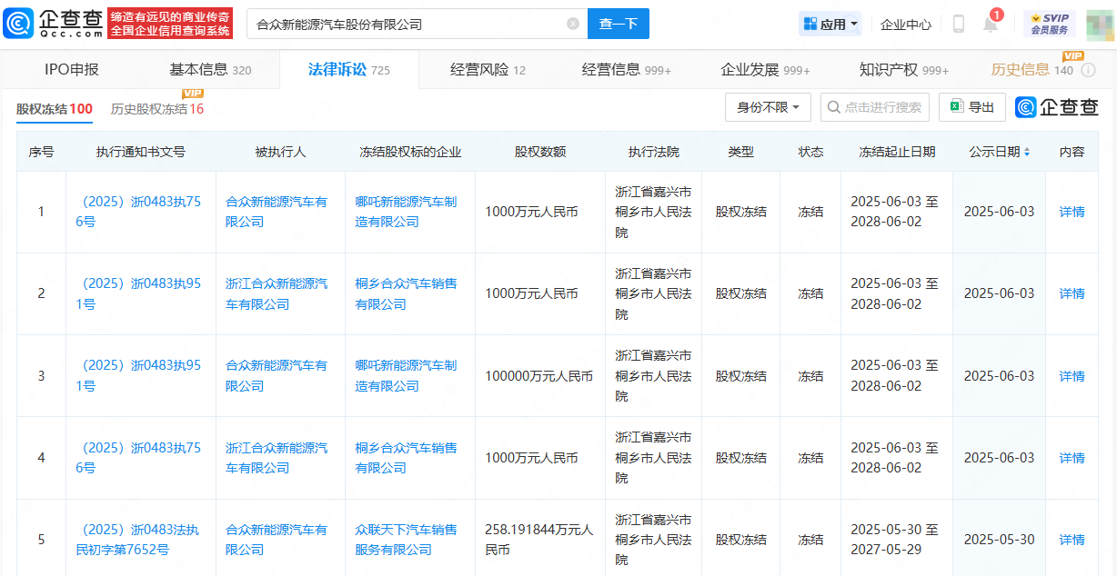
此外,合眾新能源本月以來新增4條股權凍結信息,其所持哪吒新能源汽車制造有限公司10億股權、桐鄉合眾汽車銷售有限公司1000萬股權等被凍結。

此前,有哪吒汽車員工稱收到居家辦公通知,哪吒員工表示,因為薪酬問題,已經兩個月沒去公司上班了。
企查查還顯示,哪吒汽車當前被執行金額超1.58億元,名下涉及30余條限制高消費信息,今年5月因實施了經責令改正拒不改正的行為,違反了《勞動保障監察條例》第六條規定累計被罰3.30萬元。
值得一提的是,近日,一份《哪吒汽車重整聲明》流出,聲明顯示,哪吒汽車母公司合眾新能源正式進入重整程序,本次重整由專業機構主導推進,依法保障債權人、員工及車主權益,優先解決供應鏈欠款與車主服務問題,最大程度減少社會資源損耗。
合眾新能源將跟管理人一起,聯合國內外頭部產業資本,共同投資哪吒汽車,資金將專項用于恢復生產、技術研發及海外市場拓展。同時,原管理團隊將優化重組,新任CEO由具備跨國車企管理經驗的資深人士擔任,推動治理結構專業化。
同時,國內市場桐鄉等生產基地將在數月內逐步復工,優先保障現有訂單交付,通過金融支持實現經銷商體系的穩定過渡;海外業務不受影響,將會持續正常運營,包括泰國、印尼、巴西等地將作為發展重點。
值得一提的是,聲明還提到,哪吒汽車將重啟浩智技術平臺研發,重點推進滑板底盤與智能駕駛技術,2027年前推出3款全球化車型,主攻10-20萬元大眾市場,兼顧高端差異化需求。

電池網微信












